資訊中心
發布時間:2017/01/09 11:28:38 點擊:
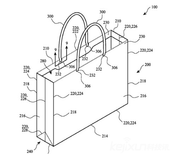
蘋果這品牌是街知巷聞,前段時間他居然稱為自己的電子產品手提紙袋申請專注,在業內尚屬首次。那么這是怎樣的一個電子產品手提紙袋,值得蘋果為此專門申請專利。我們一睹為快。
在專利備案文件中強該紙袋的環保型設計理念——“60%的紙袋材料采用了可再生紙質材料”,蘋果還特別提供了該紙袋的一些獨特修改細節,譬如其提手由“8針圓形針織樣式的紙纖維制成”。
蘋果公司認為,通過合理設計,該紙袋能夠有效保護所有的蘋果產品,完全消除了意外開裂的安全隱患。同時其表示,這款完全采用紙質材料的袋子“能夠有效減少在生產、使用以及處置過程中對環境造成的影響。

原來是如此高檔的手提袋,難怪蘋果為此不惜代價都為此申請專利。
以上內容由廣州駿業手提紙袋廠家(http://www.shoutidai99.com)編輯,轉載請注明出處。
客戶問答 / Customer Q
資訊中心 / information Centre
2024-07-17
2024-07-17
2024-07-16
2024-04-09
2024-04-08
2024-04-02
2024-04-01
您的需求 / Your needs
微信在線
咨詢電話
投訴電話